PC104-G0840 龙芯 2K1000 PC104模块
产品介绍
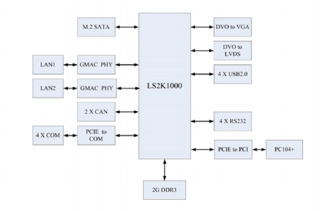
PC104-G0840是一款采用龙芯新一代双核处理器 LS2K1000的自主国产、高性能、高可靠性的标准PC104计算机 模块。模块最大限度发挥LS2K1000处理器多接口的优势,整体功耗小于10W。具有稳定、安全、可靠、实用性强等特点,可广泛应用于国防、政府、科研、医疗、数控、通讯、交通等领域,为市场不同的客户提供了有针对性的选择。
产品特点
◆ 龙芯2K1000 双核处理器,最高主频1.0GHz
◆ 集成显示
◆ 板载2GB DDR3,最大支持4GB
◆ 标准PC104PLUS总线
◆ 提供信号指示灯
◆ 提供多个调试接口
◆ 100%国产化
技术规格

产品中心
PRODUCT CENTER